Menu
Αρχική
Η Εταιρεία
Προϊόντα
Όλα τα προίόντα
ΟΡΘΟΓΩΝΙΚΟΙ ΑΕΡΑΓΩΓΟΙ
ΟΡΘΟΓΩΝΙΚΟΙ ΔΙΠΛΟΥ ΤΟΙΧΩΜΑΤΟΣ
ΚΥΚΛΙΚΟΙ ΑΕΡΑΓΩΓΟΙ
ΚΥΚΛΙΚΟΙ ΔΙΠΛΟΥ ΤΟΙΧΩΜΑΤΟΣ
ΚΙΒΩΤΙΑ
ΜΟΝΩΤΙΚΑ
ΥΛΙΚΑ
ΕΥΚΑΜΠΤΟΙ ΑΕΡΑΓΩΓΟΙ
ΡΥΘΜΙΣΗ ΑΕΡΑ
ΗΧΟΠΑΓΙΔΕΣ
ΘΥΡΙΔΕΣ ΕΠΙΣΚΕΨΗΣ
ΔΙΣΚΟΒΑΛΒΙΔΕΣ
ΦΙΛΤΡΑ
ΑΝΕΜΙΣΤΗΡΕΣ
ΣΤΟΜΙΑ
FIRE DAMPER
ΕΡΓΑΛΕΙΑ
ΣΕΡΒΟΚΙΝΗΤΗΡΕΣ
ΣΤΟΙΧΕΙΑ ΑΕΡΑΓΩΓΟΥ
ΕΝΑΛΛΑΚΤΕΣ ΑΕΡΑ
ΥΦΑΣΜΑΤΙΝΟΙ ΑΕΡΑΓΩΓΟΙ
ΔΙΑΤΡΗΤΟΙ ΜΕΤΑΛΛΙΚΟΙ ΑΕΡΑΓΩΓΟΙ
Επικοινωνία
Search
Toggle navigation
Οδυσσέως 18,14565 Αγ. Στέφανος, Αττική
info@skliamis.gr
+30210-6845958
Είσοδος
/
Εγγραφή
Β2Β
Αρχική
Προϊόντα
ΟΡΘΟΓΩΝΙΚΟΙ ΑΕΡΑΓΩΓΟΙ
Ευθύγραμμα
Λοξός αεραγωγός
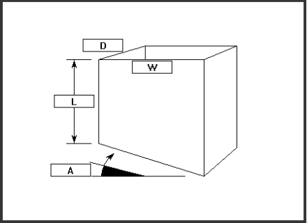
Λοξός αεραγωγός (ΛΟΞ-0116)
Κωδικός:
ΛΟΞ-0116
Διαστάσεις Προϊόντος
Περιγραφή
Κάντε μία παραγγελία